§4.4. Электроизмерительные работы на лифтах
Перед вводом лифта в эксплуатацию и после ремонта перед техническим освидетельствованием проверяют сопротивления изоляции и заземление электрических сетей и оборудования. В соответствии с ПТЭ и ПТБ сопротивления изоляции и заземления проверяют не реже одного раза в год, полное сопротивление петли «фаза — ноль» — один раз в 5 лет.
Измеряют сопротивление изоляции, и проверяют устройства защитного заземления лифтов не менее двух рабочих, имеющих квалификационную группу по технике безопасности не ниже III, а при испытании изоляции повышенным напряжением непосредственный производитель работ должен иметь квалификационную группу не ниже IV.
Электроизмерительные работы на лифтах включают в себя измерения сопротивления изоляции на всех участках электросхемы лифта, полного сопротивления петли «фаза—ноль» на лифтах, питающихся от трансформаторов с глухозаземленной нейтралью, сопротивления заземляющего устройства, проверку наличия цепи между заземлителями, заземленными нулевым проводом и элементами, осмотр сети защитного заземления для проверки надежности и правильности его конструктивного выполнения.
Цель измерения сопротивления изоляции электрических цепей и электрооборудования лифта — предупреждение опасности поражения электрическим током для жизни людей, отключения установки при выходе ее из строя.
Для проверки изоляции применяют два метода: измерение сопротивления изоляции приборами и испытание изоляции повышенным напряжением. Сопротивление изоляции измеряют магнитоэлектрическим мегомметром М-1101 с напряжением 500 и 1000 В, а испытание изоляции с повышенным напряжением — мегомметром МС-05 на 2500 В. Для измерения изоляции необходимо до начала работ отключить установку на вводе, снять предохранители с плавкими вставками или отключить автомат, вывесить на рукоятку рубильника предупредительный плакат «Не включать — работают люди!», проверить отсутствие напряжения, в силовых цепях отключить токоприемники, аппараты и приборы, в осветительных сетях вывернуть лампы, присоединить штепсельные розетки, выключатели и групповые щитки, в цепи управления присоединить все аппараты.
Перед измерением необходимо проверить мегомметр и провода к нему. Провода должны быть гибкими, сечением 1,5—2,5 мм с сопротивлением изоляции не ниже 100 МОм. Для проверки мегомметра один провод присоединяют к зажиму «Земля», второй к зажиму «Линия», замыкают концы проводов накоротко и вращают ручку мегомметра, пока стрелка не установится на отметке «Ноль». При разомкнутых проводах стрелка показывает «Бесконечность». При работе с мегомметром прибор должен быть установлен горизонтально, рукоятку прибора вращать с частотой 120 об/мин. Показание прибора необходимо снимать через 1 мин после приложения напряжения, когда стрелка прибора займет устойчивое положение.
Изоляцию обмоток статора электродвигателей, катушек, тормозного электромагнита, силовых и осветительных цепей проверяют между фазами и относительно «Земли»; изоляцию цепей управления и ротора электродвигателя проверяют относительно «Земли»; у трансформаторов измеряют сопротивление изоляции каждой обмотки относительно «Земли» и между первичной и вторичной обмотками; у низковольтных трансформаторов производят замеры первичной обмотки относительно «Земли» и между первичной и вторичными обмотками, при этом обмотку низкого напряжения необходимо отсоединить от клеммы «Земля» трансформатора.
Сопротивление изоляции обмоток двигателя в холодном состоянии должно быть не менее 1 МОм (при температуре 60° С составит 0,5 МОм), сопротивление изоляции электроаппаратуры и проводки — не менее 0,5 МОм, сопротивление защитного заземления корпусов электрооборудования при напряжении 380 В переменного тока — не более 4 Ом.
При измерении сопротивления изоляции относительно земли провод от зажима «Земля» присоединяют к нулевому проводу (контуру заземления, корпусу проверяемого оборудования), а от зажима «Линия» — к ее фазе или обмотке. При измерении сопротивления изоляции между фазами оба провода от прибора присоединяют к токоведущим жилам.
Рис. 4.1. Измерение сопротивления изоляции кабеля мегомметром: а — относительно земли; б — между фазами; в — относительно земли с исключением поверхностных утечек; З — земля; Л — линия; Э — экран
Зажимом «Экран» пользуются в случае необходимости исключить влияние поверхностных токов утечки на результат измерения при сильном увлажнении поверхности замеряемого участка. Этот зажим присоединяют проводом к корпусу, оболочке кабеля и т.п. Схема измерения показана на рис. 4.1.
При испытании изоляции повышенным напряжением оно должно быть приложено в течение 1 мин. Измеряемый участок считается выдержавшим испытание на электрическую прочность, если при испытании не произошло пробоя. Схема испытания показана на рис. 4.2.
Рис. 4.2. Проверка изоляции кабеля повышенным напряжением с помощью мегомметра: а — относительно земли; б — относительно земли с исключением поверхностных утечек; в — то же, между фазами
Все металлические части лифта, которые могут оказаться под напряжением в случае нарушения изоляции, должны быть надежно заземлены. В соответствии с ПТЭ и ПТБ заземляющие устройства необходимо периодически проверять, чтобы исключить возможность поражения людей электрическим током.
Необходимо проверять переходное сопротивление контактов заземляющего устройства. Проверку ведут омметром М-372 со шкалой 0-50 Ом. К одному из зажимов омметра подключают медный гибкий провод сечением до 1,5 мм2, который с помощью струбцины соединяют с каркасом шахты. Ко второму зажиму присоединяют второй провод со щупом. Корректором устанавливают стрелку прибора на «ноль». Замер производят касанием щупа проверяемого элемента оборудования и нажатием кнопки. Места соединения струбцины с каркасом шахты и острия щупа с заземленным объектом предварительно зачищают. Удовлетворительным считается переходный контакт с сопротивлением не более 0,05 Ом.
Рис. 4.3. Измерение сопротивления контактного заземляющего устройства с исключением погрешности, вносимой соединительными проводами
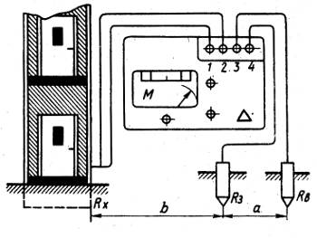
Измеряют сопротивление контактов заземляющего устройства мегомметром типа М-416, который имеет четыре пронумерованных зажима, два из которых соединяют с объектом измерения, а третий и четвертый — с зондом и вспомогательным заземлителем, как показано на рис. 4.3. Зонд и вспомогательный заземлитель представляют собой стальные стержни диаметром не менее 5 мм и длиной 0,8—1,0 м, которые забивают в землю на глубину более 0,5 м. Расстояние между зондом и вспомогательным заземлителем а = 10 м, а между зондом и испытываемым заземлителем b = 20 м. В качестве соединительных проводов применяют медные гибкие изолированные провода сечением 0,5—1,5 мм2 и длиной каждый 20—30 м. Прибор следует размещать как можно ближе к измеряемому объекту.
Для измерения переключатель В1 прибора устанавливают в положение «X1», нажимают кнопку и, вращая ручку «Реохорд», добиваются максимального приближения стрелки индикатора к нулю. Если измеряемое сопротивление больше 10 Ом, переключатель ставят в положение «Х5», «Х20», «X100». Результат измерения равен произведению показателя шкалы «Реохорда» на множитель, соответствующий положению переключателя В1.
Сопротивление заземляющего устройства можно измерить также приборами типа МС-08 или М-1103.
Полное сопротивление цепи «фаза—ноль» состоит из активных и реактивных сопротивлений: питающего трансформатора и других последовательно включенных в цепь аппаратов, фазного и нулевого проводов, а также в сопротивления контактов аппаратов и других частей сети. Оно зависит от конструктивного выполнения сети (кабель, прокладка в трубах и др.) , от расстояния между фазными и нулевыми проводами, от материала, длины, температуры и сечения проводников; от наличия в сети иных токопроводящих частей.
Сопротивление петли «фаза—ноль» измеряется прибором М-417, в основу которого положен метод измерения падения напряжения на известном сопротивлении, включенном на фазовое напряжение последовательно в цепь петли «фаза—ноль». Для измерения полного сопротивления петли «фаза—ноль» прибор ставят горизонтально, открывают крышку и к зажимам прибора присоединяют соединительные провода, ручку «калибровка» ставят в левое крайнее положение. Один провод с помощью пружинного зажима присоединяют к корпусу испытуемого объекта, обеспечив в месте соединения надежный контакт, а второй — к одной из фаз сети на распределительном щите или непосредственно на щите объекта, затем подают напряжение на измеряемый участок сети. При отсутствии обрыва заземляющей цепи на приборе загорится сигнальная лампа ≠ ∞ , если последняя не загорится, это свидетельствует о наличии обрыва заземляющей цепи; нажимают кнопку «проверка калибровки» и с помощью ручки «калибровка» ставят стрелку прибора на «ноль»; опускают кнопку «проверка калибровки» и нажимают кнопку «измерение». Отмечают показание на шкале прибора. Если загорится сигнальная лампа z > 2 Ом при нажатии кнопки «измерение», это свидетельствует о сопротивлении цепи «фаза-ноль» измеряемого объекта более 2 Ом. Повторное измерение проводится только после проверки калибровки прибора.
