(495) 648-65-81  (495) 290-33-79

ООО "ТПК СТРОЙСНАБ XXI ВЕК"
г.Москва, ул.Монтажная, д.7 стр.1
e-mail: info@arealconsult.ru

Каталог:


Прайс-лист на оборудование и материалы
Вентиляторы вытяжные
Вентиляторы промышленные
Вентиляторы радиальные
Вентиляторы канальные
Вентиляторы осевые
Вентиляторы крышные
Вентиляционные решетки
Воздушные клапаны
Отопительные агрегаты
Тепловые завесы
Тепловые пушки
Калориферы
Конвекторы
Приточные установки
Пылеулавители
Фильтры
Местные вентотсосы
Градирни
Электроприводы
Клапаны регулирования водяного потока
Воздуховоды
Шумоглушители
Виброизоляторы
Гермодвери
Оборудование Systemair
Оборудование Ostberg
Оборудование Rosenberg
Сварочные электроды
Выпрямители сварочные
Инверторы сварочные
Трансформаторы
Малые полуавтоматы для дуговой сварки
Комплектные полуавтоматы
Механизмы подачи
Комплектные автоматы для дуговой сварки
Источники для полуавтоматической сварки
Генераторы сварочные
Печи и термопеналы
Машины контактной сварки
Установки для аргонодуговой сварки
Горелки для аргонодуговой сварки
Горелки
Резаки
Комплекты (резак+горелка)
Вентили балонные
Редукторы балонные
Регуляторы расхода газа
Баллоны
Рукава
Генераторы ацетиленовые
Комплектующие
Машины газовой резки
Аксессуары и средства защиты
Сварочная проволока
Припой
Флюс
Сварочное оборудование > Каталог > Оборудование OSTBERG > Аксессуары

Гибкие вставки DS

Гибкие вставки DS  

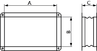
       Гибкие вставки предназначены для поглощения механических колебаний вентиляторов прямоугольного сечения типа RK и IRE, чтобы предотвратить распространение вибрационного шума от работающего оборудования по воздуховодам. Корпус вставки изготовлен из оцинкованной стали, в середине закреплена тканевая лента, обеспечивающая герметичность канала. Конструкция вставки позволяет крепить её к фланцам вентиляторов и других элементов вентиляционных систем с помощью болтов или реечного соединения.  

Габаритные размеры  

Тип вставки

А

В

С

DS 30-15

300

150

130

DS 40-20

400

200

130

DS 50-25

500

250

130

DS 50-30

50

300

130

DS 60-30

600

300

130

DS 60-35

600

350

130

DS 70-40

700

400

130

DS 80-50

800

500

130

DS 100-50

1000

500

130

Назад в раздел